Chaudière bois bûches Nideck MAT
Auteur de cette article: Nideck Chauffage, Dominique D. responsable technique
Chaudière bois bûches MAT les points forts :
.jpg)
Chaudière bois bûches MAT descriptif :
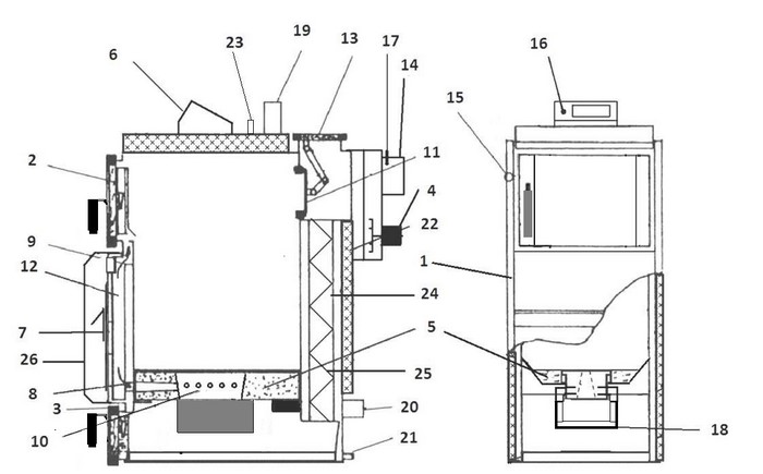
Une chambre de chargement largement dimensionnée ne nécessite souvent qu'une seule charge en bois par jour, des inserts en béton réfractaire haute température
assure des rendements élevés et une longévité de la chaudière.
Le préchauffage de l'air primaire et secondaire assure des rendements élevés (89%).
Un ventilateur d'extraction assure la combustion inversée.
Une grande surface d'échange avec un échangeur tubulaire vertical équipé de turbulateurs permet d'obtenir des températures de fumées particulièrement basses.
La chaudière doit être couplée à un ballon tampon dimensionné de façon à pouvoir absorber au minimum l'énergie contenue dans une charge en bois de la chaudière.
Chaudière bois bûches MAT description :
.jpg)
.jpg)
Chaudière bois bûches MAT caractéristiques techniques :
.jpg)
Chaudière bois bûches MAT mesures :
.jpg)
.jpg)
* longueur de bûches
Chaudière bois bûches MAT régulateur AK
La chaudière MAT est équipée d'un régulateur de commande AK fabriqué par ERS
La régulation AK, d’utilisation simple et facile, permet de gérer une combustion efficace comme suit :
- Régulation de la température de l’eau selon réglage
- Modulation de la vitesse du ventilateur d'extraction en fonction de la température d'eau et de la température des fumées
- Régulation du circulateur de recyclage et de charge ballon tampon
- Arrêt du ventilateur d'extraction et du circulateur de recyclage et charge ballon tampon en fin de combustion
.jpg)
.jpg)
Chaudière bois bûches MAT briques réfractaires
Le brûleur est tapissé de simples briques réfractaires en cas de déterioration le remplacement est très économique
Prix des 3 pierres du haut : 4 € HT pièce
Prix de la pierre du fond : 9,9 € HT pièce
.jpg)
Chaudière bois bûches MAT schéma de montage : 1
Les accessoires ci-dessous doivent être installés pour le bon fonctionnement et la sécurité de l’installation de chauffage

.jpg)
Chaudière bois bûches MAT fonctionnement avec ballon tampon :
Partager ce contenu

.jpg)